5月21日,上证指数全天高位窄幅震荡;深证成指、创业板指早盘震荡上扬,随后有所回落,之后再度上扬,午后冲高回落。科创50指数早盘探底回升,午后震荡回落。截至收盘,上证指数报3387.57点,涨0.21%,成交额4659.57亿元;深证成指报10294.22点易信盈,涨0.44%,成交额7075.21亿元;创业板指报2065.39点,涨0.83%,成交额3160.52亿元;科创50指数报995.49点,跌0.22%,成交额173.83亿元。沪深两市合计成交11734.78亿元,成交额较上一交易日增加37.76亿元。
重组蛋白、黄金等概念走强 *ST绿康连收6个涨停板
盘面上来看,行业板块、概念跌多涨少。其中,煤炭、贵金属、银行、电力设备、医药生物等行业涨幅靠前;重组蛋白、黄金、噪音防治、供销社、固态电池、草甘膦等概念走势活跃。美容护理、电子、传媒、机械设备、商贸零售、通信、教育、房地产等行业跌幅居前;PEEK材料、3D玻璃、纳米银、工业母机、存储芯片、6G、宠物经济、谷子经济等概念走势较弱。涨停个股主要集中在医药生物、电力设备、建筑装饰、化工、房地产等行业。
个股涨跌情况,截至收盘,沪深两市合计1555只个股上涨,3399只个股下跌,平盘个股170只,停牌的个股26只。不含当日上市新股,共有83只个股涨停,3只个股跌停。
涨停股中,从收盘涨停板封单量来看,天汽模最受追捧,收盘涨停板封单有7590.3万股;其次是综艺股份、ST岭南、棕榈股份、浪莎股份、慧博云通、云内动力等股,涨停板封单分别有6168.06万股、3313.52万股、 2825.75万股、2702.24万股、2248.89万股、1907.51万股。
以涨停板封单金额计算,19股封单金额超1亿元。其中,慧博云通涨停板封单资金最多,涨停板封单资金为9.39亿元;其次是天汽模、浪莎股份、综艺股份、国轩高科、滨海能源、西陇科学等,涨停板封单资金分别为6.43亿元、6.08亿元、4.23亿元、3.51亿元、1.97亿元、1.58亿元。

涨停股中,从连续涨停天数来看,大于或等于2天的个股有34只,其中,*ST绿康连收6个涨停板,连续涨停板数量最多;其次是郑中设计、丽人丽妆、*ST锦港、*ST恒久均5连板;天汽模4连板;湖南天雁、滨海能源、三生国健、空港股份、湖南发展、棕榈股份、宜宾纸业、浪莎股份等17股均3连板;金龙羽、一心堂、莱绅通灵、信邦智能、乐山电力等11股均2连板。
沪深两市主力资金净流出229.13亿元 4个行业主力资金呈现净流入
Wind统计显示,沪深两市主力资金今日净流出229.13亿元。其中,创业板主力资金净流出96.96亿元易信盈,沪深300成份股主力资金净流出26.29亿元,科创板主力资金净流出0.72亿元。
从行业来看,申万所属的31个一级行业,今日仅有电力设备、医药生物、交通运输、建筑装饰4个行业主力资金呈现净流入,净流入金额分别为13.6亿元、2.7亿元、1.99亿元、0.67亿元。27个行业主力资金呈现净流出,其中,电子行业主力资金净流出最多,净流出金额为38.83亿元;行业主力资金净流出靠前的还有机械设备、计算机、轻工制造、通信、汽车等,净流出金额分别为33.1亿元、23.28亿元、18.45亿元、18.35亿元、14.2亿元。
尾盘主力资金净流入来看,有8个行业获尾盘主力资金净流入,其中,有色金属行业尾盘主力资金净流入最多,净流入金额为6243.4万元;其次是银行、非银金融、汽车等行业,尾盘主力资金净流入均超2000万元。
37股获主力资金净流入超亿元 尾盘主力资金抢筹露笑科技等
个股来看,今日有2129只个股获主力资金净流入,其中,37股获主力资金净流入超1亿元。红宝丽主力资金净流入最多,净流入金额为8.09亿元;主力资金净流入居前的个股还有国轩高科、露笑科技、东山精密、浙江建投、永安药业等,净流入金额分别为6.76亿元、5.41亿元、2.72亿元、2.68亿元、2.55亿元。
尾盘主力资金净流入来看,有12股获尾盘主力资金净流入超3000万元,其中,露笑科技尾盘主力资金净流入最多,净流入金额为1.47亿元;其次是江淮汽车、东山精密、红宝丽、赤峰黄金、中航成飞等,尾盘主力资金净流入分别为1.26亿元、8932.05万元、7033.35万元、5814.2万元、5366.85万元。
69股被主力资金净卖出超亿元
今日有2993只个股被主力资金净卖出,其中,69股被主力资金净卖出超1亿元。主力资金净流出最多的个股是欧菲光,净流出金额为9.14亿元;主力资金净流出居前的个股还有成飞集成、梦网科技、王子新材、立讯精密、紫金矿业等,净流出金额分别为8.43亿元、5.39亿元、4.3亿元、4.2亿元、2.78亿元。
尾盘主力资金净卖出来看,有13股被尾盘主力资金净卖出超3000万元,其中,尾盘主力资金净流出最多的个股是宁德时代,净流出金额为1.78亿元;其次是王子新材、欧菲光、天源迪科、招商蛇口、大叶股份、襄阳轴承等,尾盘主力资金净流出均超4000万元。
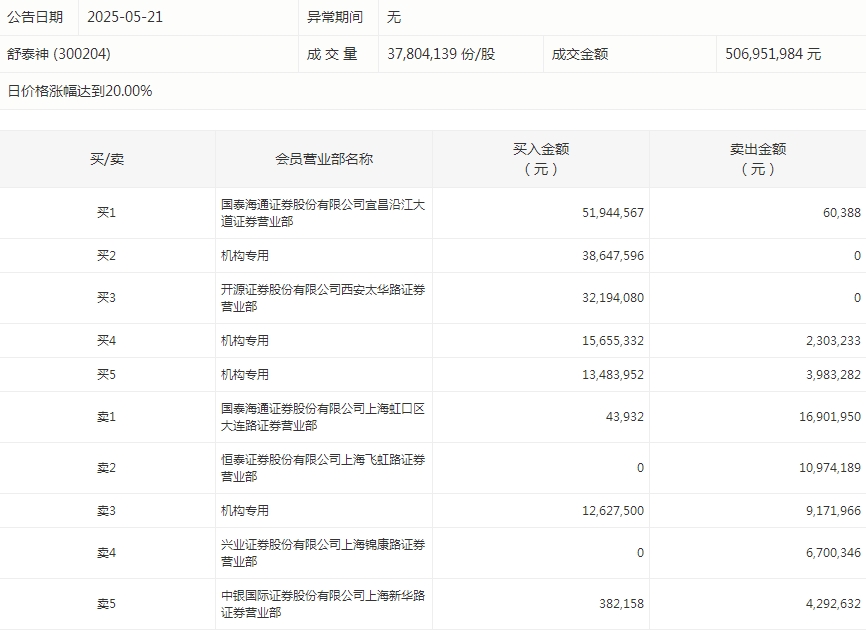
龙虎榜机构净买入12股 舒泰神居首
盘后龙虎榜数据显示,今日机构席位资金合计净买入约5371.4万元。其中,净买入的个股12只,净卖出的个股14只。机构净买入最多的股票是舒泰神,净买入金额约6495.59万元;机构净买入居前的还有中邮科技、王子新材、红宝丽等股。机构净卖出最多的股票是三生国健,净卖出金额约4836.71万元;机构净卖出居前的还有露笑科技、铁流股份、浙江华远等股。
舒泰神今天涨停。盘后数据显示,4家机构出现在龙虎榜单上,合计净买入6495.59万元;国泰海通证券股份有限公司宜昌沿江大道证券营业部买入5194.46万元,同时卖出6.04万元;中银国际证券股份有限公司上海新华路证券营业部买入38.22万元,同时卖出429.26万元。
七星策略提示:文章来自网络,不代表本站观点。